阿里巴巴入股匠多多 或进军家装行业
2019-03-18 10:05:30 新浪科技 互联网
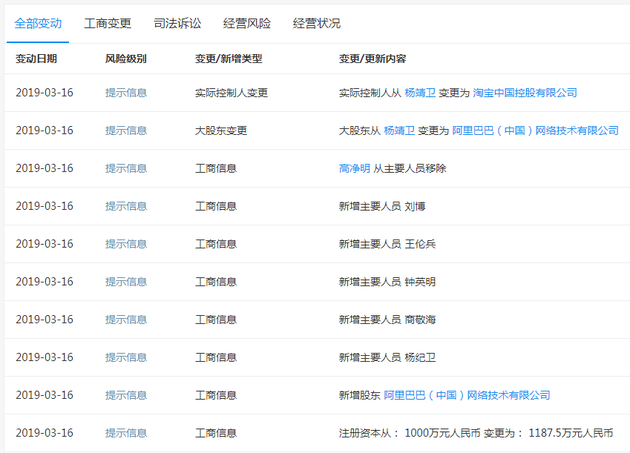
3月18日上午消息,据企查查信息显示,3月14日,阿里巴巴(中国)网络技术有限公司入股河南匠多多信息科技有限公司,控股比例20%,公司实际控制人为淘宝中国控股有限公司。
该企业成立于2018年8月,注册资本1187.5万元,经营范围包括装饰工程设计、灯具安装及维修、搬家服务、建筑工程施工等业务。


2019-03-18 10:05:30 新浪科技 互联网
3月18日上午消息,据企查查信息显示,3月14日,阿里巴巴(中国)网络技术有限公司入股河南匠多多信息科技有限公司,控股比例20%,公司实际控制人为淘宝中国控股有限公司。
该企业成立于2018年8月,注册资本1187.5万元,经营范围包括装饰工程设计、灯具安装及维修、搬家服务、建筑工程施工等业务。


体系对撞:穆杰塔巴的“蜂窝防线”与美以“斩首逻辑”的十四日战争
2026-03-14 07:10 观点
直播间“暴力测评”侵害消费者权益 京东AWE联合洗地机品牌揭穿真相
2026-03-13 15:29 业界
2026-03-13 08:02 观点
2026-03-12 15:08 电商
2026AWE开幕 京东宣布近百个家电家居品牌正在接入JoyInside
2026-03-12 15:06 电商
杨幂、全红婵、徐梦桃等众多明星助阵京东AWE直播间 明星同款、秒杀福利同步上线
2026-03-12 11:31 电商
金思宇:中美关系的再定义 ——在核心利益的风暴眼中寻找“共存的平衡点”
2026-03-12 07:19 观点
2026-03-12 07:16 观点
操纵与共谋:军工复合体如何深度绑定2026美国中期选举 ——从金钱渗透到“科技-军事复合体”的选举干预升级
2026-03-12 07:12 观点
2026-03-11 19:37 观点
2019-05-10
2018-10-22
2019-05-14
2020-01-09
2019-05-09
2019-03-05
2020-02-28
2019-05-09
2018-09-07
2019-08-21